城市向东 未来可期|濮阳土拍市场竞争激烈,成交地价又上新高
扫描到手机,新闻随时看
扫一扫,用手机看文章
更加方便分享给朋友

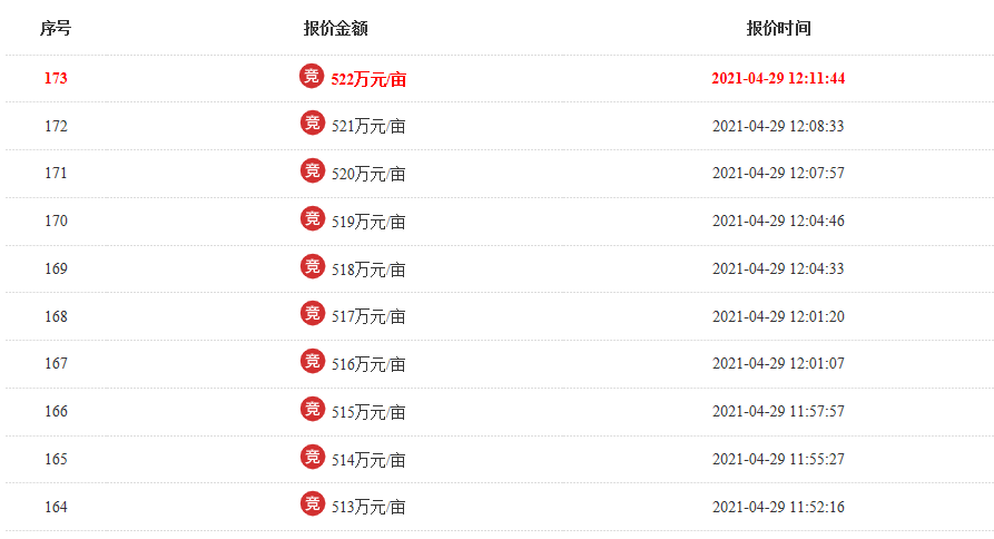
4月29日上午,濮阳土拍市场火热再袭!濮县地2021-5号和华龙区濮华地2021-R-09号两块地块赢得众多房企目光,最终两个地块全部被碧桂园拿下,其中濮县地2021-5号地块成交价为219万/亩,华龙区濮华地2021-R-09号地块成交价为522万/亩。





不难看出,两块区域的地块竞争还是比较激烈的,濮县地2021-5号地块经过39轮的竞争,从起拍价180万/亩到最终成交价219万/亩,刷新了本区域的住宅地块成交地价;濮华地2021-R-09号地块更是历经3个小时173轮的激烈角逐,最终以522万/亩竞得,可以说是区域性的新地王。

▲示意图
从两块地块区域来看,两个地块同属于濮阳东南片区。过去的地王一直靠近市中心的位置,但近两年来东南片区却频繁出现住宅用地的地王。各大品牌房企争相入驻东南片区。医疗、教育配套日渐完善。所以,未来东南片区的发展潜力是非常大的,区域价值也会也越来越高。

▲示意图
从价格方面来说,东片区的土地价格一直在涨,房价也一直没有歇着。通过这两块地块的土拍现象,我们也能看到一些市场的本质,不论政府调控的基调是松还是紧,城市总是在发展,社会总是在进步,钱总是在贬值,整体上房价总是在攀升。

▲示意图
土拍一直是楼市风云的信号灯,土地市场的冷热会迅速传导到楼市上来。今天的地价,就是明天的房价。地价与房价向来是“面粉”与“面包”的关系,所以,未来房价上涨趋势不言而喻。华信集团根植龙乡,八载匠筑十七盘,秉承“筑造老百姓买得起的放心房”,为改善濮阳住房条件和美化城市面貌作出更大贡献。好生活,从华信开始。这是华信的承诺,更是始终如一的坚守。

▲示意图
华信·越绣城营销中心
濮阳市长庆路与铁丘路向南100米路东
建面约107-126㎡臻藏三居 恭迎品鉴

华信·学府水岸营销中心
濮阳市石化路与长庆路交会处东北角
建面约102-157㎡宽境华宅 恭迎品鉴

华信置业 一诺千金
越绣品牌 值得信赖
濮阳华信置业有限公司
营销中心:京开道与龙苑路交会处东南角
华信置业自2013年成立以来,历经8载扎根濮阳,已在濮阳县成功开发了越绣花园、越绣公园、越绣桂园、越绣樟园、越绣华府、越绣学府,“四园两府”项目,得到10000多个家庭的信赖与选择,并连续创造本地多年销售奇迹,领军城区地产行业。2019年华信置业落子巩义与浩创集团联合开发浩创·华信悦府项目,2020年,华信置业再拓新区域,倾力打造“英雄之城”越绣城,并联合汇丰置业共同开发越绣·剑桥城项目,同年强势进军华龙,与汇丰置业、恩次方置业形成三强联合,共同开发春风燕语、胜东花园二期项目,濮北新项目湖光山色已经面世,11月再次摘得华龙区优质地块华信·学府水岸,2021年拓疆商丘,摘得睢县书香上院项目地块,3月份又摘得新郑两块优质地块。8年打造17个项目,我们坚信未来华信将以更快的步伐布局各地市!

华信置业一直致力于根植濮阳,服务龙乡,筑造老百姓买得起的好房子。以“区域行业领跑者、品质生活缔造者”为使命,以“匠心铸品质、诚信创未来”为宗旨,以“简单、高效、务实、奉献”为核心价值观,力争为改善濮阳住房条件和美化城市面貌作出更大贡献,努力把公司打造成国内较具竞争力的房地产企业之一。


声明:
*本宣传资料为邀约邀请,不作为要约或承诺;
*本宣传资料中提到的商品房面积为商品房建筑面积,特别说明的除外;
*相关内容不排除因政府相关规划、规定及开发商未能控制的原因而发生变化,出卖人保留对宣传资料修改的权利,敬请留意较新资料;
*本资料对项目或产品的介绍,旨在提供相关信息,不意味着本公司对此作出了承诺,买卖双方的权利义务以双方签订的《商品房买卖合同》及附件等协议为准;
*本资料修改权归出卖人所有;
*本文部分图片来源于网络,如有侵权,请联系删除。
声明:本文由入驻焦点开放平台的作者撰写,除焦点官方账号外,观点仅代表作者本人,不代表焦点立场。


